• Home >
  • Back Issues >
  • Locksmith Ledger >
  • December 2023
  • December 2023

    More content from December 2023

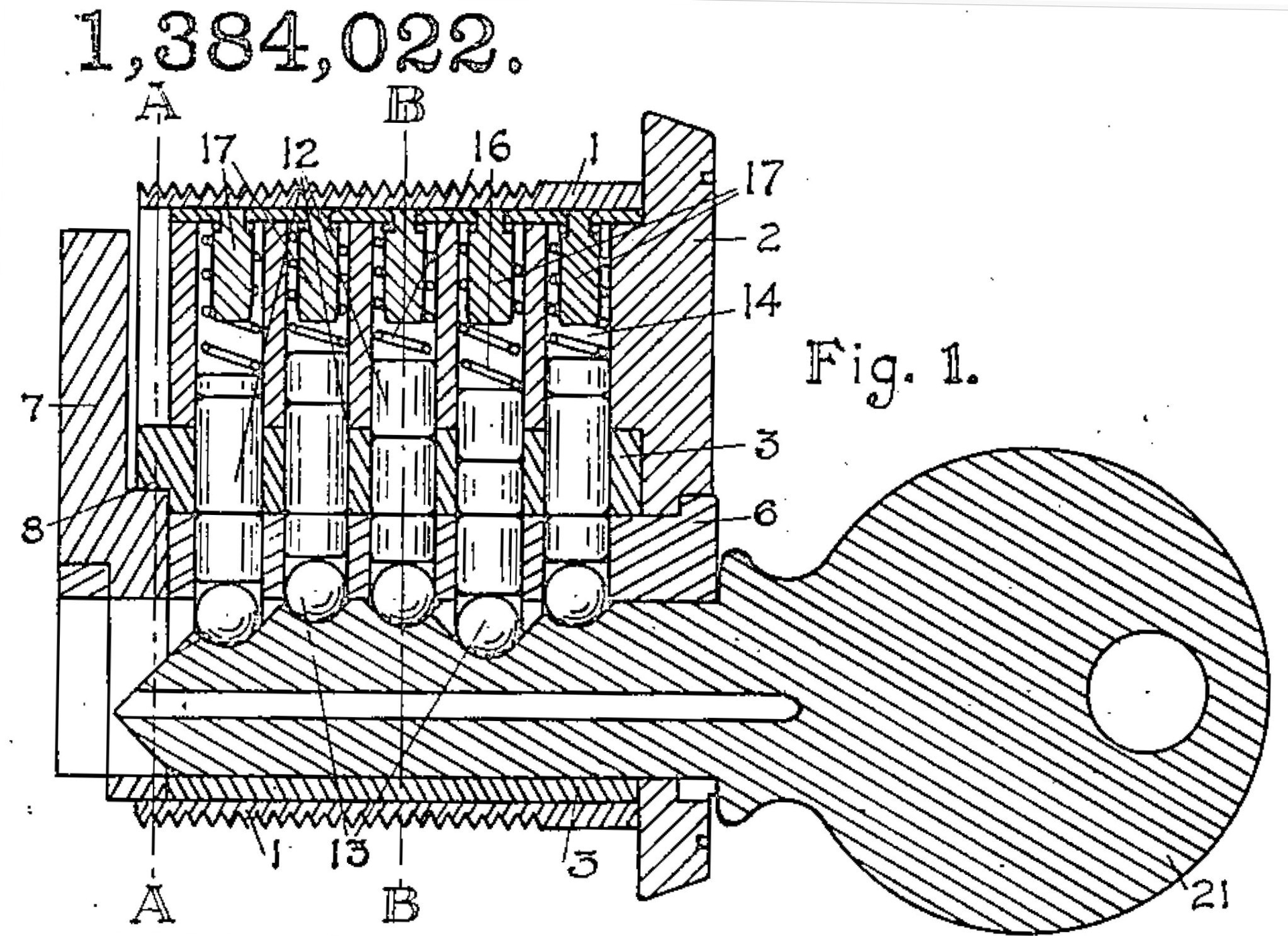
    Best interchangeable core diagram, 1919 patent
    Your customer has key control when he knows who has every single key.
    Dec. 4, 2023
    American Key Motorcycle Class
    Automotive locksmithing has entered a new, high-tech era. No longer are locksmiths making a living by purchasing a few basic tools, unlocking cars and duplicating keys. In today...
    Dec. 1, 2023
    Newport Aquarium
    Newport Aquarium Uses Paxton Net2 GREENVILLE, SC – Newport Aquarium, located in Newport, Kentucky, is home to thousands of the world’s most exotic aquatic creatures, including...
    Dec. 1, 2023
    First Edition
    10 Years Ago Electronic Access Control was the cover focus of the December 2013 issue of Locksmith Ledger. The article "Access Control Upgrade, One Door at a Time" detailed an...
    Dec. 1, 2023
    ASSA ABLOY Critical Infrastructure lock secures traffic signals in San Jose, California
    ASSA ABLOY Global Solutions - Critical Infrastructure 75481 Series traffic enclosure locks installed in San Jose, Califonia
    Nov. 10, 2023
    Photos courtesy of ASSA ABLOY
    Hands-on training opportunities are essential for the next generation of locksmiths.
    Training is critically important for this next generation of tech-savvy locksmiths
    Nov. 1, 2023
    Slvms Live View 1080x585 231013
    With Seco-Larm's SL Video Management System, you can access real-time data from all your connected devices and view live camera feeds, alarm trigger notifications, custom area...
    Oct. 27, 2023
    Autel2
    The Autel collection of affordable, programmable OE-quality smartkeys has expanded to include new Buick and VW styles. Autel's IKEYS come in a variety of styles and button configuration...
    Oct. 27, 2023
    Fobzz Device Pics
    Introducing the FOBZZ M-200 smart door controller. Features include:Supports Wi-Fiand BluetoothWiegand keypad connections, add RFID cards and change keypad PINs from anywhereUser...
    Oct. 27, 2023
    Hockey Padlock
    Medeco's Hockey Puck style padlocks come with hardened, stainless steel bodies, and a shackle-less design for the highest level of protection against bolt cutter attacks. They...
    Oct. 27, 2023
    Netway
    Altronix, a company that produces power and data transmission products for the professional security industry, has introduced its NetWay3024P compact PoE adapter. The NetWay3024P...
    Oct. 19, 2023
    Lee Odess, CEO of the Access Control Brief, addresses attendees at the inaugural Access Control Summit in Washington D.C.
    The event brought together 166 professionals from more than 15 countries from the global access control and smart lock industry.
    Oct. 12, 2023
    Key
    Ilco has added to its motorcycle key lineup. The following key blanks are now available.Harley Davidson: X287/HYD15, X283/HYD16, X284/HYD17, X285/HYD18 and X286/HYD19 Honda motorcycles...
    Aug. 25, 2023
    Den Strikle 64e6040aa9262
    The DEN SmartStrike is a unique solution that provides users with the best of both the analog and smart home world. Once installed, users can still use their traditional key to...
    Aug. 25, 2023
    Home Series 1818 Dsc 0243 14jun23 Blk Base Lg
    Gardall Safe Corporation has added fresh color options to its U.L. 2-Hour Fire and Burglary product line. Inspired by current home trends, these safes look as good as they perform...
    Aug. 3, 2023
    953 With Accessories
    Olympus Lock introduces the Cascade Series® disc tumbler cam locks. There are five cylinder lengths fitting material 5/8” up to 1-13/16.” The cylinder plug is retained in the ...
    Aug. 2, 2023
    Hes 9200 Product Image Hi Res
    The innovative HES 9200 electric strike sets a new industry standard for glass openings with tubular, vertical rod exit devices. The 9200 offers simplified retro-mounted installation...
    Aug. 2, 2023
    Morse
    Morse Watchmans has introduced its Emergency Key Grab (EKG) Kit, a lifesaving solution designed for use in K-12 schools. The new EKG Kit centers around Morse Watchmans’ proprietary...
    July 26, 2023
    Matte Black Keyed
    The Kwikset Arroyo Knob from the new Midtown Collection is a high-quality door knob designed to offer aesthetic appeal and practicality in modern spaces. With its sleek design...
    July 3, 2023
    Storefront 565
    The Norton Rixson 1600 Series door closer has a new look! This door closer is beloved for its high-quality, durability, and home-grown roots — so much so that in the last few ...
    June 20, 2023
    Apl02 Sb Bsp Locked Rgb (hi Res) (1)
    Arrow's APL Series cylindrical lock with status indicator provides enhanced privacy at a glance with its bold green and red status symbols. This cylindrical lock is the ideal ...
    June 19, 2023
    PE80 Series by SARGENT
    ASSA ABLOY introduces two next generation exit devices: the PE80 Series by SARGENT and the PED4000/PED5000 Series by Corbin Russwin. These new exit devices boast industry-first...
    May 31, 2023
    Saltohorz
    SALTO’s new Neoxx G3 electronic padlock is the most advanced and versatile locking system suitable for a wide range of applications.“We’re thrilled to announce the launch of the...
    May 24, 2023
    Cx Epd1289 L Bk Pr
    New, all-black model of Camden's surface-mount RIM strike with preload
    May 22, 2023
    Pacs Eco Card Signo 40 Reader Female Hand 800 Px 6089 27041
    The Highly Durable and PVC-Free Credential Is Certified by the Forestry Stewardship Council
    May 16, 2023
    Yrd400 Interior 619 Door Zwave Green 1600px
    NEW HAVEN, CT –Yale Home released Yale Assure Lock® 2 with Z-Wave, an extension of the company’s latest and most advanced collection of smart locks. The award-winning Assure Lock...
    April 26, 2023
    Ixs Hbdv
    Complete pre-programmed video intercom system is ready to install right out of the box
    April 25, 2023
    Dormakaba Keyscan Kc Series Door Controller
    The new dormakaba Keyscan KC Series Door Controller consolidates advanced technical services and enhances integration options on a smaller board, which is half the size of its...
    March 30, 2023
    Stainless Steel Emi Sheil
    Reduce the possibility of electronic interference from unwanted electromagnetic waves with other circuits or devices
    March 29, 2023
    331569043 550222087213188 5711777821628427684 N
    American Security’s BFX Gun Safe line is available in a stunning, new two-toned color called “Black Diamond.” These safes are a preferred choice by gun owners because of their...
    March 28, 2023
    Defender 238 Lss Ls 63ee5ef92d1d2
    The Defender is a (exit-entry) thin-style smart lock from Lockly’s Guard Series, ideally suited for narrow-stile doors in retail stores, lobby entrances, fitness rooms and other...
    March 1, 2023